产品名称:THB6032S(停产)
相关资料下载详细介绍:
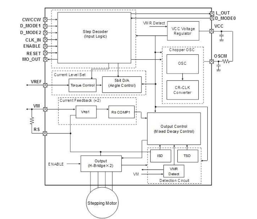
特性
双全桥MOSFET驱动,低导通电阻Ron=0.5Ω(上桥+下桥)
耐压50VDC,电流2.5A(峰值)
细分选择:1、1/2、1/4、1/8、1/16、1/32
自动衰减方式
内置温度保护及过电流保护
管脚说明
管脚
编号
符号
功 能 描 述
1
CW/CCW
电机正反转控制端
2
MO_OUT
位置检测Monitor输出端
3
D_MODE_1
细分数选择端(详见附表)
4
D_MODE_2
细分数选择端(详见附表)
5
CLK
脉冲输入端
6
ENABLE
使能端
7
RESET
复位端
8
RS_A
A相电流检测端(应连接大功率检测电阻)
9
OUT_A
A相功率桥输出端1
11
GND
电源地线
13
OUT_A
A相功率桥输出端2
14
GND
电源地线
15
GND
电源地线
16
OUT_B
B相功率桥输出端1
18
GND
电源地线
20
OUT_B
B相功率桥输出端2
21
RS_B
B相电流检测端(应连接大功率检测电阻)
22
VM
电机驱动电源输入端
23
VCC
5V电源输出端
24
L_OUT
温度保护及过流保护输出端
25
D_MODE_0
细分数选择端(详见附表)
26
Vref_B
B相电流设定端
27
Vref_A
A相电流设定端
28
OSCM
斩波频率控制端
参考图

封装图
